Tesla transmission through the earth
I spoke with Eric today and he wanted me to send the following transmission to you regarding your moonbounce project. He thinks the moon bounce will be difficult (due to it not having been done before), and thinks it would be easier to take an already engineered approach such as sending a longitudinal signal through the Earth:
Any competent engineer should be able replicate the transmission of longitudinal waves through the ground. Moon bounce gives the most definite results, but there’s no existing engineering information available regarding how to do it. The 160 HAM band coils are shown in the longitudinal wave Borderland videos- flat spirals. The construction techniques are shown. The Theory of Wireless Power has calculations for the solenoid coil. All you have to do is connect the neutral side of the coil with the ground system and excite the coil – with HAM rig. Eric already did this on 40 meters between Bolinas and Los Angeles. Picture a loaded vertical antenna, coil at the bottom, tower in the air, shorten the antenna, make the coil bigger, keep going to the limit, hence a resonant coil, and no antenna. In this condition the ground current will be maximum. Hereby is effected longitudinal transmission into the ground. Ground Requirements:
Need a really good ground – 120 wires in the ground in a 50 to 100 foot square. It’s that simple, not that complicated. One coil transmits to the other through the ground, longitudinally with no antenna.Eric can read the forum now so I’m sure he will see any reply from you
Steinmetz’s book “Transient Electrical Phenomena and Oscillations”. Pg 400
Philo Farnsworth started me on that project in 1980. He stated that I should develop a Steinmetz type of Versor (AC) operator adapted to hyperbolic rather than circular functions, hence a versor (I.C.) operator. Philo stated this as the “Holy Grail” of “Theoretical Electrical Engineering”. He then started it off by giving me a book “Physics and Mathematics in Electrical Communication”, Perine.
It took me 8 years until I finished “Symbolic Representation of the Generalized Electric Wave”. However note that the space versor part is not there , it is at the end of “Theory of Wireless Power”. Fortunately The Dumpsters or Olin Bales of SwinePlanet did not get these. They were 8 years of hard work every day on my part.
The entire working Telluric system WAS working at Landers. There WAS your velocity greater than c. It was based upon a navy situation of transmitting direct to deep submerged submarines through water, and through the metal hull of the sub.
Anyway the Mojave Research Facility at 57474 Linn Road Landers, is in the hands of criminals. Our Navy is N.F.G. now.
Steinmetz sphere equations in the “Transient Phenomena” book may be of use. The 1920 edition has the right equations. I think your sphere should be driven by a self resonant coil, cut short to resonate with sphere capacity. Sphere capacity equal to coil self capacity is maximum sphere capacity allowed. Use my formula in “Theory of Wireless Power”. No guesswork here, just basic high school math. Forget the physics of gobble-gook. For “Can” antennas if you want what is known as a Transverse Magnetic, TM waveguide mode. Here the dielectric is longitudinal along direction of propagation. See “Radio Engineer Handbook”, Terman, and “Reference Data for Radio Engineers” I.T.T. published. Here your waveguide modes are presented. One in particular is very interesting as its lossed decrease with frequency but it is very hard to excite this mode. Check this out as it is directly regulated to your efforts in “moonbounce”. Show modes on forum for others to see!
Also a “Tao” has his own great representation of the “Four Quadrant” “Eight Pole” representation on forum.
73 DE N6KPH SK
You guys are getting into rotating electrostatic generators with cathode ray excitation. (Post # 83 in this thread). Eric would like it if you could show pictures and diagrams of that stuff. You are starting to get into some slight similarities with what Tesla did. There’s some stuff that ties to the old cathode ray theories of Crookes, implemented by Tesla. The cathode ray(beta particle) excites the machine. It turns the electron-volts into potential e(small e deliberately – see Eric Dollard thread on units) I find this quite interesting. And then I found the fluerescent lamp variable capacitor interesting and here’s what else you can do: You can go to your local neon sign shop and often for free the guy will make a short 1 foot tube for you of any gas or arrangement you want. That’s it.
This was how the thread has been progressing so far- hand written letters that were mailed. However now I’ve been able to get Eric internet access so he can see your guys’ responses in real time.Just a few quick things that Eric would like to see you guys start doing(from Eric):
1. Stop using the notion of charge and Q. Use dielectric induction and the greek letter psi. Start using the units he derived. It makes him frustrated to have derived all the units- and then nobody uses them, reinforcing their misunderstanding. Forget everything you know and start over. Start using big E or little e for volts, depending on the context. Use the system of units he derived- there was a reason for him doing 40+ transmissions doing this.
2. Eric is very new to computers. He hates seeing links to things. So if you are going to reference other material, pictures, etc. try to post those things directly in the thread so people don’t have to follow a link to see the material. When possible if the link referenced isn’t too lengthy. If it’s too lengthy try to take some kind of excerpt. It will be easier for him to see things that way, and you are more likely to get some kind of response from him. If there is a link to something you can pretty much assume Eric won’t read it. For instance he is pleased with what Kokomojo did in post # 633
You’ve got something special with those laminations in the transformer, something different than normal. Try to make some diagrams and pictures if you can.
@All
If I were to do it, I would not use ferrite no.
Alexanderson lays it out in his patents. Need a certain amount of oxidation on the core laminations. Bake laminations and cook them to get a certain amount of oxidation. Check out the patents for more details. That’s one idea.
Navy uses alloyed permeable metal tape. Some examples: permavar umetel tape. The phone company uses very fine wire instead of ferrite. The iron wire must be at 90 degrees to the copper windings. If it is used as an inductor you want to put a cut or slit in the iron core windings so current doesn’t flow. If it is a transformer you want to saturate the core so don’t put a slit. With a magamp you want the core to be saturated, ferrite kind of defeats this. Ferrite is a bunch of separate particles in the core that can’t conduct electrically with each other so saturation is difficult. Kind of like an air core.
You want electrical conductivity in the same versor axis as magnetic inductivity(flux). But the current in the windings flow 90 degrees to the magnetism flowing in the iron. Right angles to each other. Space Quadrature. While there is actually no current flow in the conductivity of the core, it seems to be a necessity. This may or may not be important with the magamp. However, don’t take my word or theory as a final say on it. Experimentation is necessary. It is possible ferrite may work, so far it is unknown. You must find out for yourself.
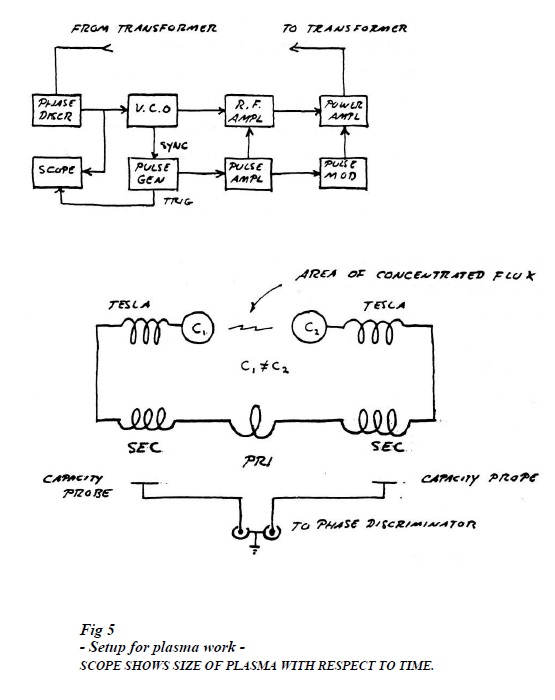
That machine was designed to do plasma experiments not to transmit, it was a balanced TMT as you said. If you want to build a transmitter for experiments(without transmitting) you need two coils out of phase.Our hands were drawing electrostatic energy off of the two terminals to light the bulb. That geometry was specific for plasma generation, not necessarily what you want for transmitting into the earth.
If you want to see how the geometry of the Wireless Tesla Transmitter works you must check the Colorado Springs notes. It has the number of turns, width/height ratio, etc. Taking these you can scale it down to anything you want. My analysis of the Tesla Transmitter (shown in the Colorado Springs Notes) is in Intro to Tesla Transformers. My analysis is not just of the Colorado version, but the Tesla Transmitter in general. Everything is there. Although I must warn you- you need a government license if you want to transmit radio frequency energy. The one in the picture is balanced so it can’t transmit. Can get much higher energy densities this way, so you need to make sure you don’t burn your neighbors house down. If you fired half of the power in the picture shown you would burn something up. It had 1/2 of a mega-volt-ampere of field activity. Wrongly called a resonant circuit with a high Q. It has distributed constants. Read theory of wireless power.
This transmitter was described in Intro to Tesla Transmitters. But also described is the Colorado Springs version.
As far as the equipment we(myself P.T. Farnsworth the III, and David Franklin) had in the RCA Bolinas Laboratory:
The power supply we used was a 10 Kw radio transmitter. It was a specially designed radar transmitter in a push/pull scenario. It was a pulsed high frequency radio transmitter. The switching tubes were push pull- a set of 6 Eimac 450-TL hf transmittting triodes. Plate voltage of 6300 volts. Discharges leapt from the of end of the coils to a length of 4 1/2 ft. Total field energy of 1/2 million volt-amperes reactive. 3000 kilo-cycles per second. RCA came in and cutoff the 3 phase power and took all of the oil filled transmormers, so what you see is us just lighting a small bulb in our hands. Don’t try to copy that device, it was primordial. I didn’t have any of the math done yet.
Everything I’ve written so far is how to do this right. It’s already been written in this thread and my books. Some of the pieces and pictures I have posted in this thread may seem like disparate pieces of information, but it is all connected. Each is important to the replication of the Tesla Magnifying Transmitter. I’ve given you all the tools.
Advice to anyone wanting to get involved building the tesla magnifying transmitter: before you get started go get a ham radio license. Otherwise you shouldn’t be getting involved in this sh!t. You have to transmit on Industrial Scientific and Medical frequencies or Ham radio. Ham radio goes back to my original aim. My first question for you before you start building this is: Why do you want to build this thing in the first place? Are you willing to read the books and do the research required to build it? I’m not going to spoon feed all of you or you’ll never learn anything.
My only desire was to develop this technology for the Navy so that they could communicate with submarines, without the subs having to drag long antennaes behind them. And then Olin Bales ended up with my lab and all my equipment. And now it’s being resold on ebay. I could have predicted the next big California earthquake but now its over and gone. It is extremely unlikely my antenna field will ever be rebuilt. I want to see the first anti relativistic (anti-Einstein) radio transmission. Who is going to do this? WHERE IS LAMARE??
I am going to make a documented case that the Corums ripped off the Army. I could have done way better. I will publish this later. They’re next.
</End of Eric’s Transmission>
Eric told me the following while he was making dinner:
Here Tesla was referring to numerology. Take all the numbers in anything in your life (your ph number, address, license plate, etc.) Add all the numbers together, when you reach 9 you start over again (A Base 9 system). For example say your License plate is 134. Add the numbers together: 1+3+4 = 8. So your number is 8. Another example license plate: 568 = 5+6+8 = 19 = 1+9=10 = 1 in a base 9 system. Mind is a little foggy so not sure on the exact details. You will find these numbers will ocurr everywhere in your life. It is an ancient Egyptian thing, called the Chaldean system. Theoretically based on your cosmic “attunement” you will see the numbers occur more or less often. Tesla made sure everything he did in his life was based numerically on the number 3. 3 phase power uses the least amount of copper of any wire line transmission system. The reason why remains a mystery today. Steinmetz attempts to explain it in his AC book. (by the way the Holy Trinity is a popular Christian archtype. Tha father, the son, and the holy ghost). Tesla’s father was a priest. Tesla was supposed to be a priest. Tesla became a priest of different field – science. Read opening chapters of J.J. Thompson’s “Electricity and Matter”.
Here you will find further informatino on the Chaldean System:
Chaldean Numerology, Chaldean Vibrations, Compound Numbers
A short excerpt from the website here:
“As you may already have noticed, no alphabet letter was assigned to the number 9. The reason why the number 9 was omitted under Chaldean Numerology system was because the Chaldeans felt the 9 was holy, sacred, and thus to be held apart from the rest. However, should your name or that of someone you know total 9, then the 9 remains. Let’s analyze a sample name under Chaldean Numerology system:
LESLIE
3 + 5 + 3 + 3+1+5 = 20 – 2 + 0 = 2
ERIC
5 + 2+1 + 3 = 11 – 1 + 1=2
Total: 2 + 2 = 4
All numbers, whether found under this system or the Pythagorean one, have basically the same meanings, symbols, nature, and character. This seems to be the universal rule of all number systems.
However, under the Chaldean Numerology system, it isn’t enough to know what the single numbers mean. One must also know what the “compound,” or “double,” numbers mean is well. The single Chaldean Numerology number simply represents the physcal outward appearance of a person’s name, whereas the compound Chaldean Numerology number represents the deeper, metaphysical, hidden influences or forces behind the name. In our above example, although the name adds up to the single num*ber 7, the name also has three compound numbers—20 in the first name, 11 in the middle name, and 21 in the last name.
Once the physical (single number) and metaphysical (compound number) aspects of your name have been determined, the next important step is your date of birth.
Your date of birth means the day of the month you were born under, for it too has its own occult symbology and significance. So, Leslie Eric Scott, born on the 8th day of December, would also be considered a number 8 per*son under this system. Your date of birth is extremely important because it is unchangeable and therefore a constant, like the needle pointing north on a compass. A person may undergo a series of name changes over the years because of marriage, adoption, and the like, but the birth date remains the same.”
In other words, ferrite can carry the inductance of a single turn, however neglects the multi turn inductance? This make sense. However this means that mutually coupled domains are dependent on CONDUCTION???? Does this explain conduction????????? WHAT CAUSES THIS….Where in the equations is this? If it is not there….which is fine, what do we FEEL is responsible? This seems VERY connected to what I show in the cross field capacitor thread. An order of operations for “conduction” vs parameter change? |
Eric said he has the very same questions you do concerning mutual inductance. No easy answer unfortunately.
Here is the discharge:
Now notice a second picture of Colorado Springs:
Pictured below are people making a Tesla coil WRONG:
It was a balanced field generator using Tesla Transformers. A burned out, incandescent light bulb was held in between the dielectric field of the out of phase extra coils. On page 15 of “Condensed Intro to Tesla Transformers” it is labeled the “area of concentrated flux.” The out of phase extra coils create the central plane of superimposition from which the galaxies emerge. Everything is golden ratio, five phase fractal.
Comment from Eric accompanies the pictures.
The first picture is a schematic of the setup. It is from page 15 of “Condensed Intro to Tesla Transformers”
All the equipment in the photographs were embezzled by George Flores in Los Angeles California. He was someone else that showed up to “help” Eric Dollard. Everyone wants to help “themselves” to Eric. Like the martians in the movie “Mars Attacks” -the aliens were announcing “We are your friends” as they start exterminating the humans.
Borderlands embezzled all the funds for the safe place to move the equipemt to. The funds were sent by Josh reynolds. Eric was told “We need the money more than you do”.
🔹 Version from Nikola Tesla's Magnifying Transmitter
🔹 The "tension" for "electricity fractionation" to occur is the Earth's Potential Potential. To be precise, it is the tension of the Ether, and the electricity is the dynamic polarization of the Ether.
🔹 During "Electricity segment", the magnetic field collapses several times in short periods of time. That leads the voltage V = Φ/t to reach infinity (V → ∞) when t → 0
- V - The electromotive force which results from the production or consumption of the total magnetic induction Φ (Phi). The unit is the “Volt”. Where t is the time of magnetic field collapse from maximum to complete collapse.
- Research scholars also call it Tesla's technology called Radiant Energy from Electronic Circuits, Impulse Technology.



















